Dessins cotés des poignées - SmartHandle numérique AX
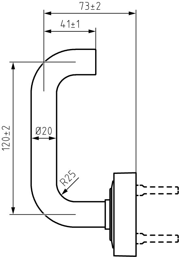
Forme A (A l'extérieur/a l'intérieur) | |
|---|---|
|
|
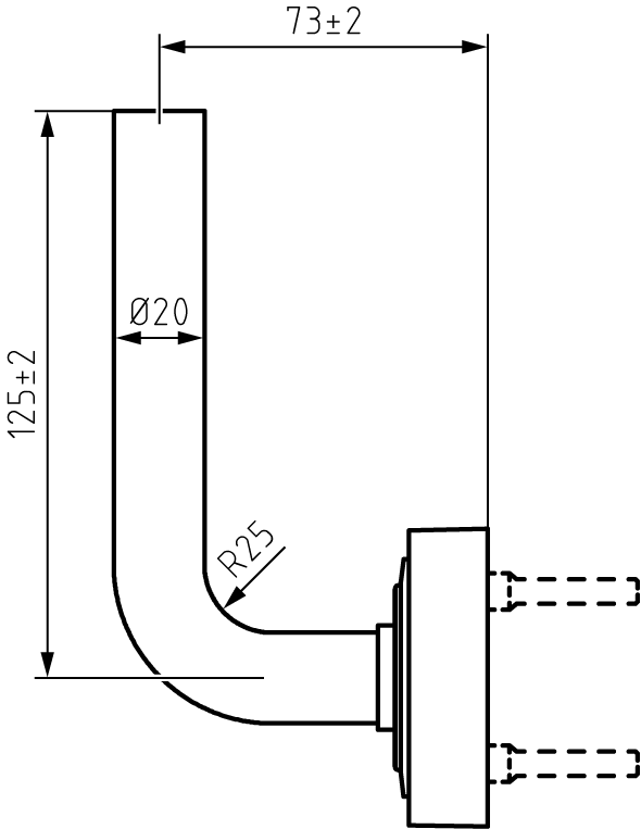
Forme B (A l'extérieur/a l'intérieur) | |
|---|---|
|
|
Forme C (A l'extérieur/a l'intérieur) | |
|---|---|
|
|
Forme D (A l'extérieur/a l'intérieur) | |
|---|---|
|
|
Forme L (A l'extérieur/a l'intérieur) | |
|---|---|
|
|
Forme A (A l'extérieur/a l'intérieur) | |
|---|---|
|
|
Forme B (A l'extérieur/a l'intérieur) | |
|---|---|
|
|
Forme C (A l'extérieur/a l'intérieur) | |
|---|---|
|
|
Forme D (A l'extérieur/a l'intérieur) | |
|---|---|
|
|
Forme L (A l'extérieur/a l'intérieur) | |
|---|---|
|
|