Maßzeichnungen Drücker - Systembeschreibung WO
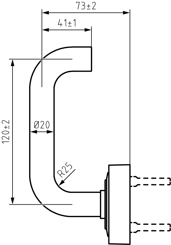
Form A (Außen/Innen) | |
|---|---|
|
|
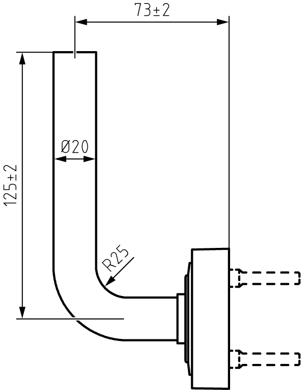
Form B (Außen/Innen) | |
|---|---|
|
|
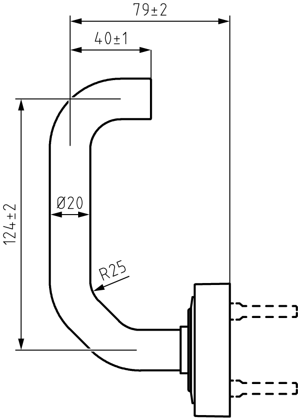
Form C (Außen/Innen) | |
|---|---|
|
|
Form D (Außen/Innen) | |
|---|---|
|
|
Form L (Außen/Innen) | |
|---|---|
|
|
Form A (Außen/Innen) | |
|---|---|
|
|
Form B (Außen/Innen) | |
|---|---|
|
|
Form C (Außen/Innen) | |
|---|---|
|
|
Form D (Außen/Innen) | |
|---|---|
|
|
Form L (Außen/Innen) | |
|---|---|
|
|