Batterijen - Cilinder (Z4) DoorMonitoring
Levensduur van batterijen
De levensduur van de batterijen is afhankelijk van de configuratie-instellingen van de DM-cilinder en het gebruik in de praktijk. Van invloed op de levensduur van de batterij zijn:
- bemonsteringsfrequentie van de bevestigingsschroef
- aantal activeringen
- uitlezen van de toegangslijst
- herprogrammeringen
- aantal tasks
Het maximum aantal activeringen bedraagt 50.000
De levensduur van de batterij afhankelijk van de instelling van de bevestigingsschroef:
bemonsteringsfrequentie | gebruiksduur batterij |
|---|---|
0,2 s | 2,5 jaar |
2 s | 4 jaar |
3 s | 4,5 jaar |
De vermelde gebruiksduur van de batterijen betreft richtwaarden. Een batterij-alarm wordt niet gegeven na afloop van de bovengenoemde levensduur maar op basis van de gemeten capaciteit van de batterij.
Batterij-alarmniveaus
Alarmniveau 1 | Alarmniveau 2 | Freezemodus |
|---|---|---|
8 korte signalen voor het vrijschakelen | 30 seconden lang acht korte signalen met telkens een seconde pauze voor het vrijschakelen | 6 signalen (lang – pauze – kort) |
Tot max. 15.000 activeringen of tot max. 9 maanden | Tot max. 50 activeringen of tot max. 30 dagen | Batterijvervanging: activering met batterijvervangingstransponder |
OPMERKING
Vanaf alarmniveau 2 is de bewakingsfunctie van de cilinder gedeactiveerd! Er worden geen statuswijzigingen meer geregistreerd of doorgegeven.
Na het eerste optreden van alarmniveau 2 kunnen er nog ca. 50 activeringen met een transponder worden uitgevoerd. Na het bereiken van dit aantal activeringen of na ongeveer 4 weken gaat de cilinder automatisch over tot de Freezemodus. In deze modus kan de cilinder alleen nog door een zogenaamde batterijvervangingstransponder in combinatie met een bevoegde transponder worden vervangen.
Freezemodus
Als de batterij-alarmniveaus 1 en 2 niet in acht worden genomen of de beheerder van het sluitsysteem niet werd geïnformeerd, gaat het sluitelement over naar de Freezemodus. Om in deze toestand te voorkomen dat de batterij volledig leeg raakt, kan het sluitelement niet meer geactiveerd worden met een transponder van een gebruiker.
OPMERKING
In de Freezemodus kan een deur alleen nog geopend worden met een batterijvervangingstransponder.
Gewone transponders kunnen een deur niet meer openen
- Vervang batterijen onmiddellijk nadat het eerste batterij-alarmniveau is bereikt
Batterijvervanging
- U hebt een sleutel om batterijen te vervangen
- U hebt batterijvervangingstransponder
- U hebt de juiste nieuwe batterijen
- U hebt een bevoegde transponder
- Wanneer de cilinder zich in de Freezemodus bevindt, activeert u de batterijvervangingstransponder
- De cilinder kan nu met een bevoegde transponder worden geopend
- Activeer de nieuwe transponder
- Batterijen vervangen
- Activeer de batterijvervangingstransponder
- De Freezemodus is continu opgeheven De cilinder kan normaal worden bediend
Batterijen vervangen
- De montage-/batterijsleutel dusdanig aan de binnenknop plaatsen dat de twee neuzen in de schijf inrasten (indien nodig de knop draaien totdat beide neuzen van de sleutel in de knop inrasten). Let op: Om te zorgen dat de montage-/batterijsleutel in de schrijf kan inrasten, moet deze tegen het front aan de binnenkant van de ring met inkepingen liggen. . De batterijen mogen alleen met schone, vetvrije handschoenen worden aangeraakt.
- Binnenknop vasthouden en de montage-/batterijsleutel behoedzaam ca. 30° met de klok mee draaien (tot een knak is te horen).
- Montage-/batterijsleutel van de knop nemen
- De ring met inkepingen naar achteren in de richting van de deur schuiven, zodat hij los komt van de knop
- De ring met inkepingen vasthouden en de knop 10° tegen de klok in draaien en eraf trekken
- Beide batterijen voorzichtig uit de houder trekken
- De nieuwe batterijen met de pluspolen naar elkaar toe tegelijk in de houder schuiven (batterijen zo snel mogelijk vervangen)
OPMERKING
Knoopcellen altijd met de pluspolen naar elkaar toe in de cilinder plaatsen
De batterijen bereiken alleen hun complete levensduur als ze juist zijn aangebracht
OPMERKING
Batterijen corroderen wanneer ze in contact komen met transpiratie en vet
Batterijen verliezen vroegtijdig capaciteit
Gecorrodeerde batterijen kunnen de cilinder ernstig beschadigen
- Batterijen mogen nooit worden aangeraakt met de blote hand
- De nieuwe batterijen mogen alleen met schone, vetvrije handschoenen worden aangeraakt

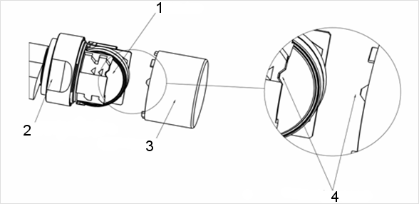
- De knop weer terug plaatsen (overeenkomstig de driehoekige markeringen (4), zie schets), de ring met inkepingen vasthouden en de binnenknop met de klok mee (ca 10°) vastdraaien
- De ring met inkepingen weer op de knop schuiven zodat de knop en de ring met elkaar zijn uitgelijnd
- De montage-/batterijsleutel dusdanig aan de binnenknop plaatsen dat de twee neuzen in de openingen van de schijf inrasten (indien nodig de knop draaien totdat beide neuzen van de sleutel in de knop inrasten).
- Knop door middel van een draai van ca. 30° met de klok mee weer sluiten (tot u een knak hoort)
- Activeer nu een geautoriseerde transponder en test of alles correct functioneert