Dimensional drawings handles - SmartHandle SmartIntego
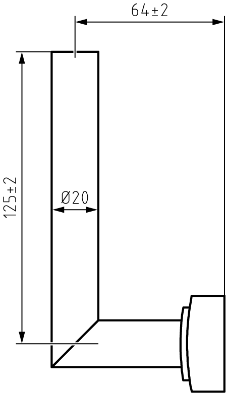
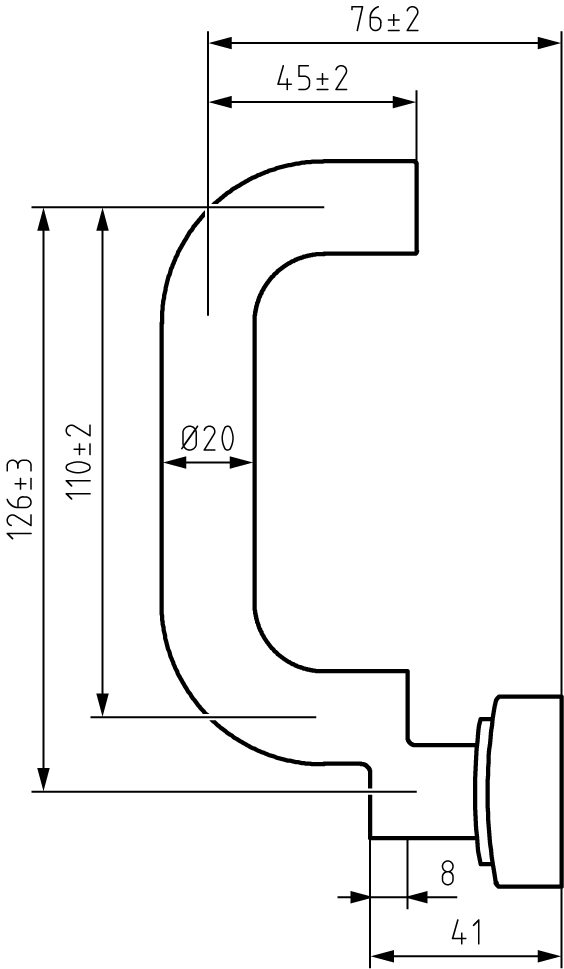
Shape A (Outside/Inside) | |
|---|---|
|
|
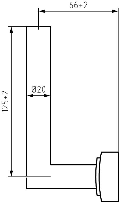
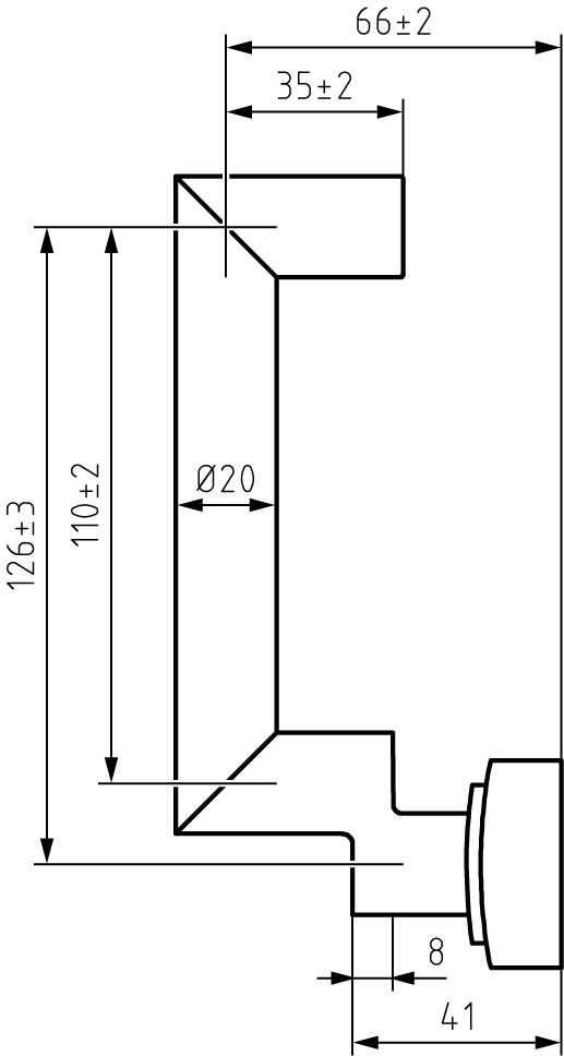
Shape B (Outside/Inside) | |
|---|---|
|
|
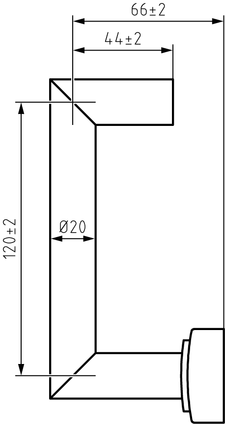
Shape C (Outside/Inside) | |
|---|---|
|
|
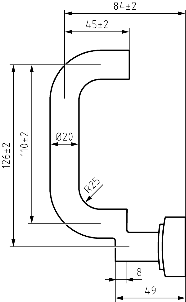
Shape D (Outside/Inside) | |
|---|---|
|
|
Shape E (Outside/Inside) | |
|---|---|
|
|
Shape F (Outside/Inside) | |
|---|---|
|
|
Shape G (Outside/Inside) | |
|---|---|
|
|
Shape H (Outside/Inside) | |
|---|---|
|
|















