Technische gegevens - SmartBridge
Algemeen | |
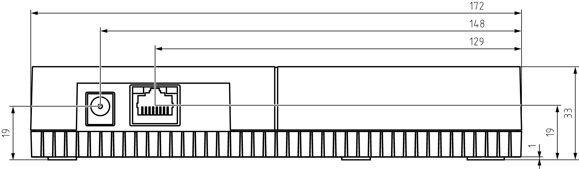
Afmetingen | 172 mm × 86 mm × 33 mm |
Gewicht | ca. 100 g |
Materiaal | ABS-kunststof, UV-stabiel |
Kleur | Wit (gelijk met RAL 9016 “verkeerswit”) |
Montage |
|
Aansluitingen |
|
Omgeving | |
Temperatuur |
|
Luchtvochtigheid | Max. 90% zonder condensatie |
Beschermingsklasse | IP20 |
Elektriciteit | |
Bedrijfsspanning | 9 VDC tot 32 VDC (ompolingsbeveiliging) of PoE conform IEEE 802.3af Voeding via PoE en ronde stekker tegelijkertijd mogelijk: Ronde stekker > 12 VDC → ronde stekker gebruikt, ronde stekker < 12 VDC → PoE gebruikt |
Vermogen | max. 3 W |
Uitgang VOUT | 3,0 VDC tot 3,3 VDC, max. 200 mA |
Interfaces | |
RJ45 |
|
868-MHz | WaveNet-interface, bereik tot 30 m |
Signalering | |
LED | RGB-LED (midden van de behuizing) |
Software | |
Programmering | via TCP/IP-interface |
Radio-emissies
868,000 MHz - 868,600 MHz / 869,700 MHz - 870,000 MHz | <25 mW ERP |

