Dimensional drawings handles - SmartIntego Digital SmartHandle AX
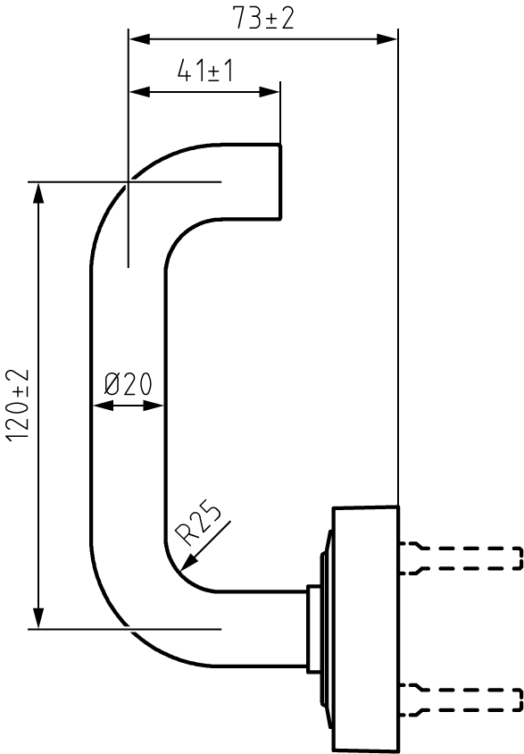
Shape A (Outside/Inside) | |
|---|---|
|
|
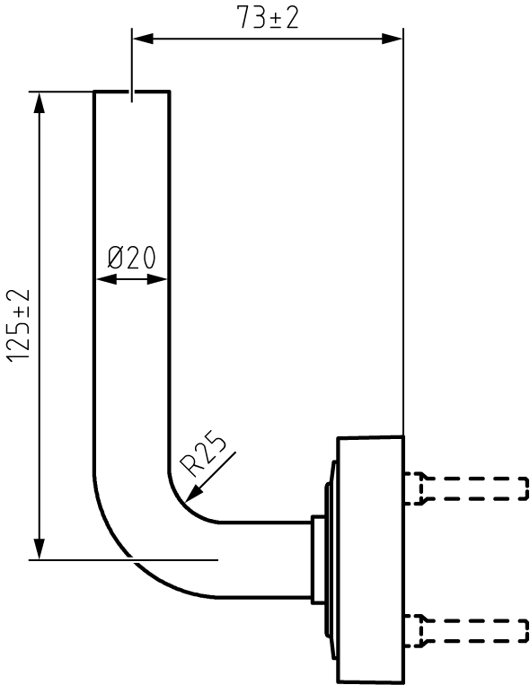
Shape B (Outside/Inside) | |
|---|---|
|
|
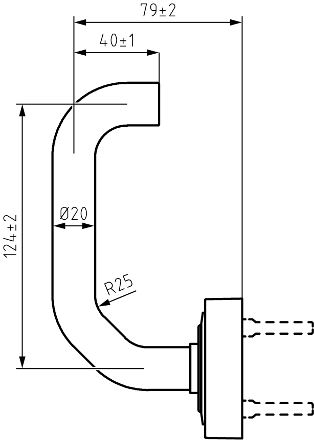
Shape C (Outside/Inside) | |
|---|---|
|
|
Shape D (Outside/Inside) | |
|---|---|
|
|
Shape L (Outside/Inside) | |
|---|---|
|
|
Shape A (Outside/Inside) | |
|---|---|
|
|
Shape B (Outside/Inside) | |
|---|---|
|
|
Shape C (Outside/Inside) | |
|---|---|
|
|
Shape D (Outside/Inside) | |
|---|---|
|
|
Shape L (Outside/Inside) | |
|---|---|
|
|