Glass door fitting - SmartIntego Digital SmartHandle AX
You can also use the A1 version of SI.SmartHandle AX with an optionally available lock case on glass doors.

SimonsVoss glass door escutcheons require the glass door to have the following mounting holes (dimensions in mm):
- Insert the inner plate into the the inner panel below.

- Close the inner plate into the inner panel.

- Loosen the screws in the glass door lock case by about 1.5 turns (SW3).

- Insert the SI.SmartHandle AX into the glass door lock case.

- Place the anti-slip mat and then the cover film on the lock case.

- Position the lock case in its approximate position on the glass door.
- Also position the outer part and the profile cylinder escutcheon base on the inner side of the glass door.

- Hold the inner part and the outer part with one hand. Align the two parts with each other.

- Make sure that the two parts are at the same height and are not twisted.


- Use your second hand to screw the profile cylinder escutcheon base firmly (PH2; torque 1.1 Nm). See Installing the fitting to calculate the screw lengths and the square length.

- Insert the spindle into the fitting as far as it will go.

- Attach the inside handle and screw it tight (PH2; torque 1.1 Nm).

- Fit the outside handle into position on the fitting.

- Fasten the grub screws firmly onto both handles (TX15, torque 5.0 Nm).

- Place the covers on the profile cylinder escutcheon base and the inside handle base.

- Tighten the screws in the glass door lock case by 1.5 turns again.

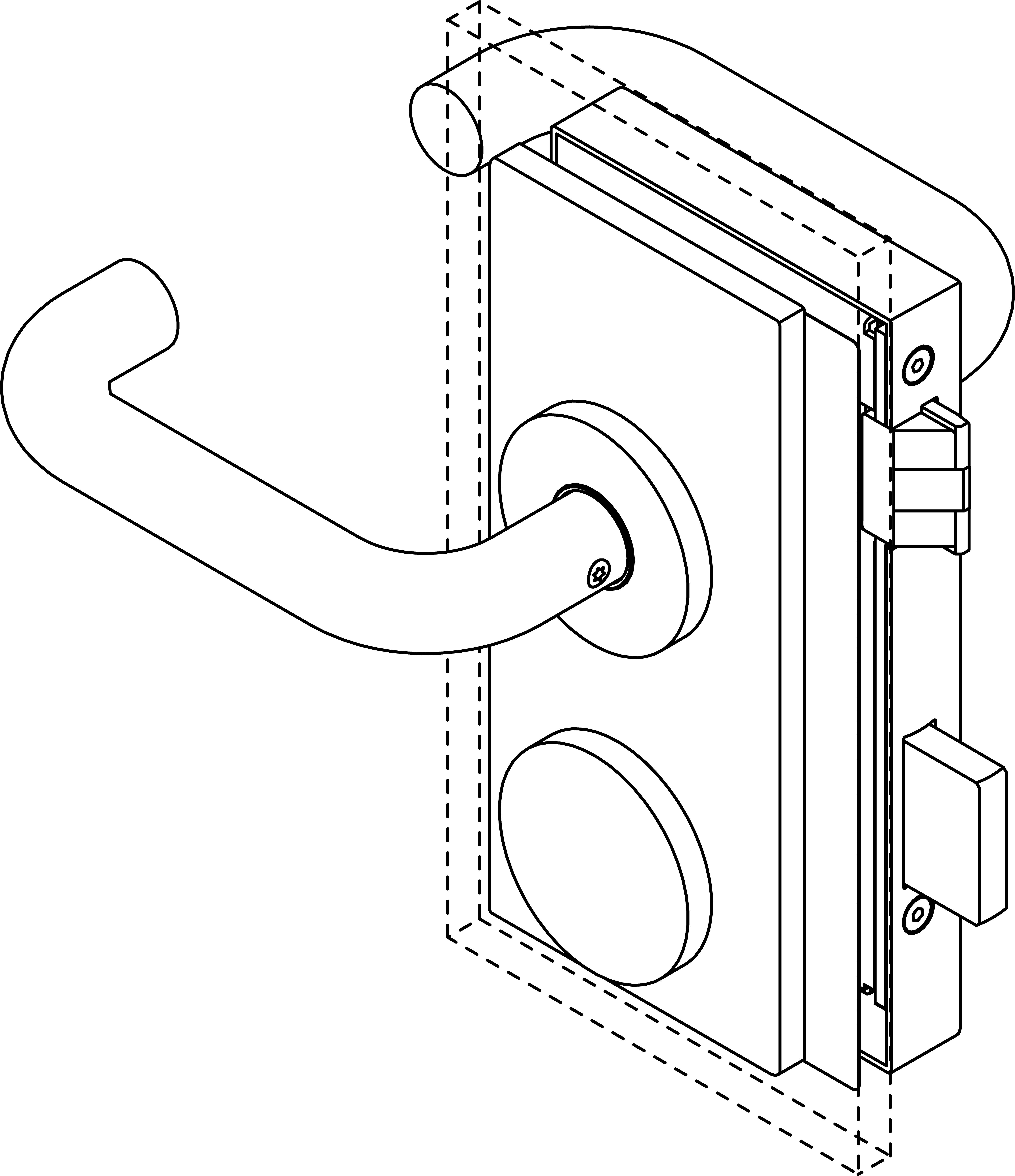
- SI.SmartHandle AX with fully assembled FSB glass door lock case.
