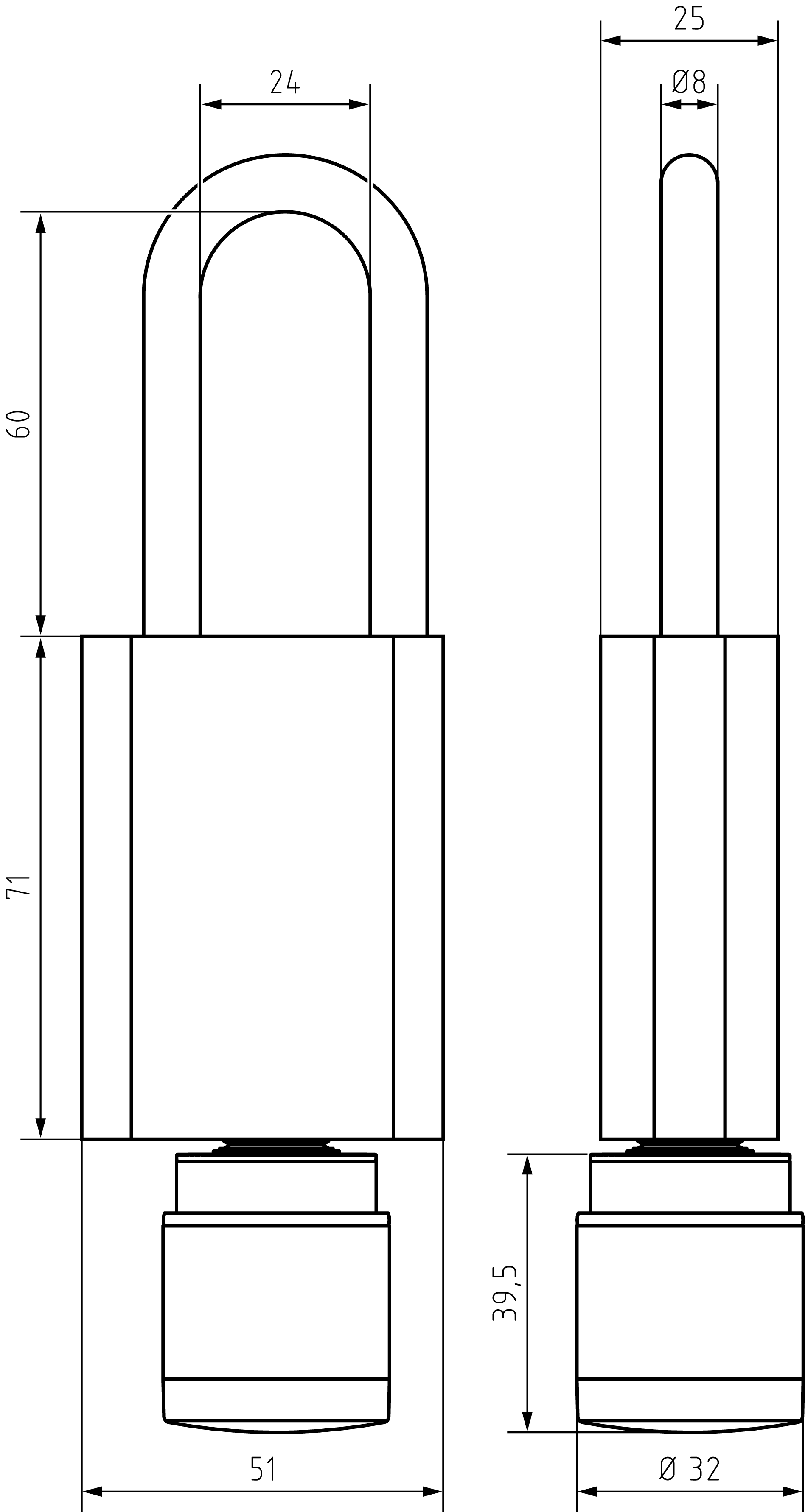
Scale drawings - Digital Padlock AX (Z5.PL) SmartIntego

8 mm shackle, 25 mm shackle interior height

8 mm shackle, 60 mm shackle interior height

8 mm shackle, 50 mm shackle interior height