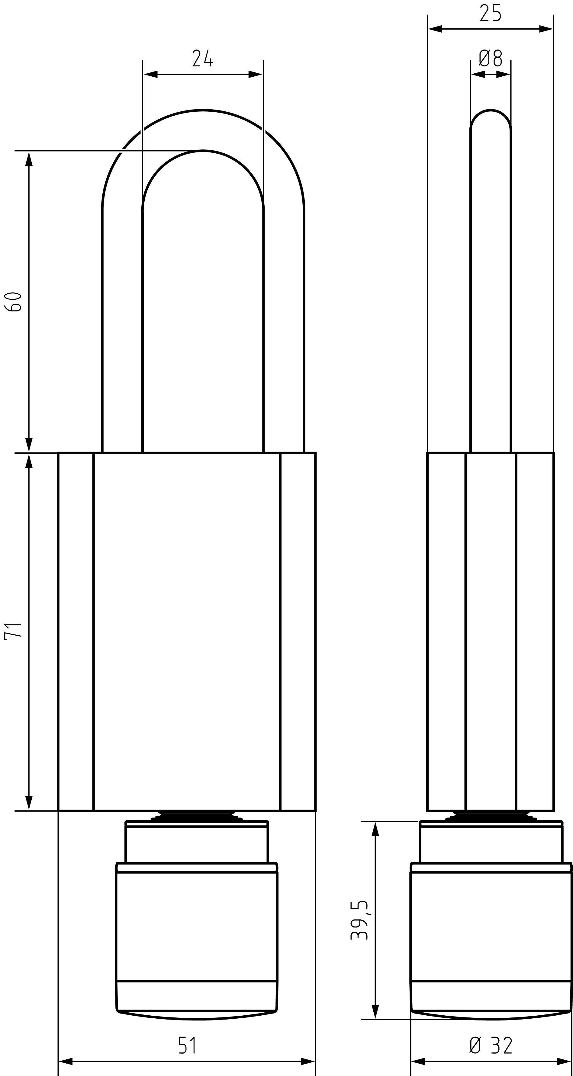
Schaal tekeningen - Digital Padlock AX (Z5.PL)

8 mm beugel, 25 mm binnenhoogte beugel

8 mm beugel, 60 mm binnenhoogte beugel

8 mm beugel, 50 mm binnenhoogte beugel